關於我們
主要產品
電池盒
聯絡我們
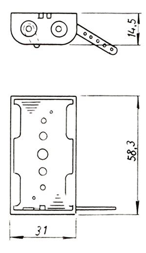
32-8
電池盒
|
加入詢問單
|
回上一頁
|
Item:32-8
Feature:UM3 x 2 for two "AA" cells.
|
回上一頁
|